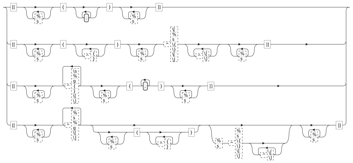
@startregex \[\[[%s]*\{(.*)\}[%s]*\]\]|\[\[[%s]*\{([^{}]*)\}[%s]*([^\[%s\{\}\[\]][^\[\]]*)[%s]*\]\]|\[\[[%s]*([^\s%g{}\[\]]+?)[%s]*\{(.+)\}[%s]*\]\]|\[\[[%s]*([^%s%g\[\]]+?)(?:[%s]*\{([^{}]*)\})?(?:[%s]([^%s\{\}\[\]][^\[\]]*))?[%s]*\]\] @endregex
Decode URL
Submit
amiga
aws-orange
black-knight
bluegray
blueprint
cerulean-outline
cerulean
crt-amber
crt-green
cyborg-outline
cyborg
hacker
lightgray
mars
materia-outline
materia
metal
mimeograph
minty
plain
reddress-darkblue
reddress-darkgreen
reddress-darkorange
reddress-darkred
reddress-lightblue
reddress-lightgreen
reddress-lightorange
reddress-lightred
sandstone
silver
sketchy-outline
sketchy
spacelab
spacelab-white
superhero-outline
superhero
toy
united
vibrant
🎉 Discover the future PlantUML Web Editor! 🚀
PNG
SVG
ASCII Art